WesterntechVN – Giải Mã Các Điều Kiện Kỹ Thuật Khi Áp Dụng Sơ Đồ Kết Hợp (Toàn Khối) và Riêng Biệt (Tách Biệt) Cho Bãi Sông Hẹp/Rộng và Dao Động Mực Nước (< 4m, < 8m, 10-20m); Phân Tích Giải Pháp Bể Lắng Cát (3) và Cửa Lấy Nước Nhiều Tầng (Multi-Level Intake) Để Quản Lý Phù Sa và Ngăn Ngừa Bùn Cát Có Hại (> 0.25mm) Cho Máy Bơm
Nguồn nước sông và kênh là nguồn cấp nước phổ biến nhất cho các trạm bơm tưới tiêu, nhưng chúng đi kèm với thách thức lớn về sự giao động của mực nước và lưu lượng dòng chảy rắn (bùn cát). Sự giao động mực nước quyết định loại sơ đồ bố trí công trình (kết hợp hay riêng biệt), trong khi bùn cát quyết định nhu cầu về các công trình phụ trợ (bể lắng, cửa lấy nước nhiều tầng). Lựa chọn sơ đồ bố trí không gian sai có thể dẫn đến chi phí xây dựng khổng lồ và sự bất ổn định trong vận hành.
Bài viết chuyên sâu này sẽ đi sâu vào phân tích các kinh nghiệm lựa chọn sơ đồ bố trí trạm bơm khi lấy nước từ sông và kênh, dựa trên các kịch bản giao động mực nước cụ thể (< 4m, < 8m, 10-20m). Chúng ta sẽ giải mã các điều kiện tiên quyết để áp dụng sơ đồ kết hợp thành khối và sơ đồ riêng biệt trên bãi sông. Đồng thời, bài viết sẽ tập trung phân tích kỹ thuật của các giải pháp xử lý chất rắn, bao gồm vai trò bắt buộc của Bể Lắng Cát (3) khi đường kính hạt rắn vượt ngưỡng $0.25 \text{ mm}$ và ứng dụng của Cửa Lấy Nước Nhiều Tầng trong việc loại trừ cát lớn.
Phần 1: Bố Trí Trạm Bơm Sông Theo Địa Hình và Giao Động Mực Nước Nhỏ

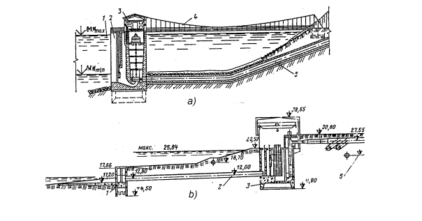
- 1.1. Bãi Sông Hẹp, Bờ Sông Dốc và Giao Động Mực Nước Không Lớn ($\le 8 \text{ m}$):
- Vấn đề: Nếu dùng sơ đồ kênh dẫn (bố trí riêng biệt), sẽ phải đào kênh sâu (do bờ dốc) dẫn đến khối lượng lớn và dễ bị bồi lắng bùn cát do vận tốc kênh thấp.
- Giải pháp ưu tiên: Áp dụng sơ đồ kết hợp nhà máy và công trình lấy nước thành khối (Hình 8-2,3) hoặc tách biệt nhưng gần nhau (Hình 8-2,b).
- Lý do: Giảm khối lượng đào đắp và tránh vấn đề bồi lắng của kênh dẫn.
- 1.2. Bãi Sông Rộng và Giao Động Mực Nước Ít ($< 4 \text{ m}$):
- Giải pháp ưu tiên: Chọn sơ đồ bố trí riêng biệt trên bãi sông (Hình 8-3).
- Công trình lấy nước $1$ đặt ở mép nước lớn nhất.
- Nhà máy bơm $5$ đặt trên bãi sông (nền đất cao hơn).
- Công trình dẫn nước $2$ là kênh hở hoặc ống dẫn tự chảy.
- Lý do: Bố trí này an toàn hơn, tận dụng địa hình cao để xây dựng nhà máy, và kênh dẫn tự chảy dễ bảo trì trong điều kiện giao động mực nước nhỏ.
- Giải pháp ưu tiên: Chọn sơ đồ bố trí riêng biệt trên bãi sông (Hình 8-3).

Phần 2: Bố Trí Trạm Bơm Sông Với Giao Động Mực Nước Lớn ($10 \text{ đến } 20 \text{ m}$)
Giao động mực nước lớn là thách thức kỹ thuật lớn nhất, đòi hỏi các giải pháp kết cấu phức tạp để đảm bảo $\text{h}_s$ (chiều cao hút cho phép) của máy bơm.
- 2.1. Sơ Đồ Kết Hợp Ở Lòng Sông (Hình 8-4,a):
- Ưu điểm: Đảm bảo ổn định công trình và giảm giá thành xây dựng so với việc xây dựng công trình lấy nước sâu bên bờ sông. Nhà máy bơm được đặt sâu để giảm chiều cao hút (tăng khả năng hoạt động của bơm ly tâm).
- Chú ý: Cần xem xét điều kiện vận tải thủy và nguy cơ bị va đập bởi vật trôi nổi lớn.
- 2.2. Sơ Đồ Bố Trí Riêng Biệt (Cửa Lấy Nước Lòng Sông, Nhà Máy Bờ – Hình 8-4,b):
- Ưu điểm: Nhà máy $5$ an toàn trên bờ, dễ dàng tiếp cận và bảo trì. Cửa lấy nước $1$ đặt ở lòng sông để tiếp cận nguồn nước sâu ổn định.
- Nhược điểm: Tăng chi phí cho ống dẫn nước áp lực từ lòng sông vào nhà máy.

Phần 3: Quản Lý Phù Sa, Bùn Cát và Bảo Vệ Máy Bơm
Việc quản lý dòng chảy rắn là bắt buộc để đảm bảo tuổi thọ của máy bơm ly tâm.
- 3.1. Tiêu Chí Xây Dựng Bể Lắng Cát (3):
- Ngưỡng nguy hiểm: Xây dựng bể lắng khi đường kính hạt rắn lơ lửng nằm trong dải $0.25 \text{ đến } 0.5 \text{ mm}$.
- Lý do: Đây là dải kích thước hạt gây ra sự ăn mòn/mài mòn mạnh nhất cho cánh bơm và vỏ bơm.
- Vị trí: “Khoảng giữa công trình lấy nước và nhà máy.”
- 3.2. Ưu Tiên Thiết Kế Mang Phù Sa:
- Phù sa nhỏ: Đường kính hạt nhỏ hơn $0.25 \text{ mm}$ không gây nguy hại cho bơm (hoặc nguy hại rất ít).
- Chiến lược: Thiết kế kênh dẫn mang phù sa để bón ruộng (tạo giá trị gia tăng) thay vì xử lý nó như chất thải.
- 3.3. Tối Ưu Hóa Cửa Lấy Nước Bằng Kết Hợp và Nhiều Tầng:
- Bố trí kết hợp và cửa nhiều tầng: “Nên bố trí kết hợp cửa lấy nước với nhà máy, sử dụng cửa lấy nước nhiều tầng để lấy nước trong, loại trừ cát lớn vào máy bơm.”
- Lợi ích: Cho phép vận hành viên linh hoạt chọn tầng lấy nước có chất lượng tốt nhất tùy theo mùa lũ/mùa khô, giảm tải bùn cát cho bể hút và máy bơm.
Phần 4: Bố Trí Trạm Bơm Kênh Chính
- Sơ đồ ưu tiên: Thường chọn sơ đồ bố trí kết hợp nhà máy bơm với công trình lấy nước (Hình 8-8).
- Đặc điểm: Nhà máy $2$ và công trình chắn rác $1$ thường liền khối. Sử dụng xi phông tháo $4$ để đưa nước vào bể tháo, điều này giảm được các cửa van chặn nước chảy ngược từ bể tháo về ống đẩy, đơn giản hóa kết cấu.
- Lý do: Mực nước kênh thường ổn định và được quản lý tốt hơn sông/hồ, cho phép bố trí toàn khối hiệu quả.
Việc lựa chọn sơ đồ bố trí trạm bơm trên sông/kênh là một quyết định cân bằng giữa chi phí xây dựng và tính ổn định/an toàn trong môi trường giao động mực nước. Sơ đồ kết hợp (toàn khối) phù hợp cho bãi sông hẹp/địa hình dốc hoặc giao động mực nước rất lớn/rất nhỏ, trong khi sơ đồ riêng biệt phù hợp cho bãi sông rộng và mực nước ít giao động. Bất kể sơ đồ nào, việc áp dụng các biện pháp kỹ thuật như Bể Lắng Cát (cho hạt $> 0.25 \text{ mm}$) và Cửa Lấy Nước Nhiều Tầng là bắt buộc để bảo vệ máy bơm khỏi sự mài mòn của dòng chảy rắn.


