WesterntechVN – Đánh Giá Ưu Nhược Điểm Của Sơ Đồ Giếng Chìm (Kết Hợp) và Tách Rời (a) Trong Điều Kiện Bãi Bồi Ngập Nước/Giao Động Mực Nước Lớn; Giải Mã Sơ Đồ Tổng Hợp Công Trình Lấy Nước và Làm Sạch (Hình 8-17, a, b) Trong Hệ Thống Bơm Nâng I và II; Phân Tích Vị Trí Trạm Bơm Nâng III Bên Cạnh Ống Áp Lực
Việc lấy nước mặt cho Trạm Bơm Cấp Nước Nông Thôn (Trạm Nâng Đầu Nút I) thường diễn ra ở các khu vực bãi bồi sông hoặc hồ chứa, nơi mực nước giao động lớn và nền đất yếu bão hòa nước. Điều này khiến cho việc bố trí công trình lấy nước trở nên rất phức tạp. Kỹ sư phải lựa chọn giữa các sơ đồ bố trí tách biệt (kênh dẫn) và kết hợp (giếng chìm), mỗi sơ đồ mang lại những ưu nhược điểm riêng về thi công, vận hành và chi phí.
Bài viết chuyên sâu này sẽ đi sâu vào phân tích các sơ đồ bố trí tiêu biểu (Hình 8-16) của trạm bơm nâng I, đặc biệt tập trung vào việc đánh giá ưu nhược điểm của giếng chìm (kết hợp) và sơ đồ tách rời (a) khi đối phó với giao động mực nước và điều kiện địa chất. Tiếp theo, chúng ta sẽ giải mã sơ đồ tổng hợp giữa công trình lấy nước và làm sạch trong hệ thống bơm nâng I và II (Hình 8-17, a, b), làm rõ mối quan hệ giữa nhà máy bơm và trạm xử lý nước. Cuối cùng, chúng ta sẽ phân tích lý do kỹ thuật của việc đặt Trạm Bơm Nâng III bên cạnh ống áp lực (Hình 8-17, b).
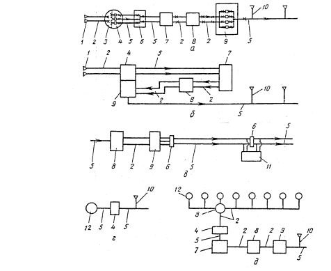
Phần 1: Bố Trí Trạm Bơm Nâng Đầu Nút I Lấy Nước Mặt (Hình 8-16)
Trạm bơm nâng I là trạm đầu tiên, lấy nước thô từ nguồn và bơm đến công trình xử lý.
- 1.1. Sơ Đồ Tách Biệt (Hình 8-16, a):
- Đặc điểm: Công trình lấy nước $2$, tuyến tự chảy (kênh/ống) và nhà máy bơm $6$ đặt riêng biệt.
- Ưu điểm: Có thể được áp dụng rộng rãi với mọi loại bãi bồi, mọi loại địa chất, mọi cấp lưu lượng và giao động mực nước nào của nguồn.
- Nhược điểm: “Có số lượng công trình nhiều” (nhiều hạng mục) $\implies$ Tăng chi phí xây dựng và quản lý.
- 1.2. Sơ Đồ Giếng Chìm Kết Hợp (Hình 8-16, $\text{d}$):
- Đặc điểm: Nhà máy bơm $6$ kết hợp với giếng bò $3$ thành một khối (giếng chìm).
- Áp dụng: Thường được làm ở dạng giếng chìm khi đặt ở lòng sông hoặc bãi bồi ngập nước.
- Ưu điểm: Có lợi hơn sơ đồ a do giảm số lượng hạng mục, tiết kiệm không gian và khối lượng công trình.
- Nhược điểm: Phức tạp hơn trong thi công (đặc biệt là đào móng sâu, chống thấm), và khó khăn hơn trong việc mở rộng/bảo trì.
- 1.3. Sơ Đồ Lòng Sông (Hình 8-16, b, $\text{c}$):
- Đặc điểm: Công trình lấy nước và/hoặc nhà máy đặt gần giữa sông.
- Áp dụng: Mọi cấp lưu lượng.
- Nhược điểm: Phức tạp cả trong thi công lẫn trong vận hành (do ảnh hưởng của dòng chảy, vận tải thủy, nguy cơ va đập và địa chất kém ổn định).
Phần 2: Sơ Đồ Tổng Hợp Bơm Nâng I và Công Trình Làm Sạch
Trạm bơm nâng I và công trình làm sạch nước là hai hạng mục không thể tách rời trong hệ thống cấp nước sạch.
- 2.1. Sơ Đồ Tách Rời Trạm I và II (Hình 8-17, a):
- Hoạt động: Trạm bơm nâng I ($1$) bơm nước thô đến công trình làm sạch nước ($7$). Nước sạch đã khử nhiễm được đưa đến bể nước sạch. Từ bể này, Trạm bơm nâng II ($2$) bơm nước sạch vào mạng ống áp lực hoặc tháp áp lực.
- Ưu điểm: Phân chia rõ ràng chức năng, dễ dàng mở rộng công trình làm sạch và trạm bơm II độc lập.
- 2.2. Sơ Đồ Kết Hợp Trạm I và II (Hình 8-17, b):
- Hoạt động: Máy bơm của Trạm nâng II được đặt trong nhà của Trạm bơm nâng I. Nước từ công trình làm sạch $7$ quay ngược lại về Trạm nâng I.
- Ưu điểm: Tiết kiệm chi phí xây dựng nhà máy (chỉ xây một nhà cho cả Trạm I và Trạm II), giảm chi phí quản lý vận hành.

Phần 3: Trạm Bơm Nâng Chuyển Tiếp (II và III)
- 3.1. Trạm Bơm Nâng Chuyển Tiếp II:
- Đặc điểm: Sơ đồ đơn giản hơn Trạm Nâng I vì thường lấy nước từ bể nước sạch (nguồn nước đã qua xử lý), không còn lo ngại về bùn cát hay giao động mực nước nguồn.
- Chức năng: Đẩy nước sạch vào mạng lưới phân phối (ống áp lực) hoặc tháp áp lực (bể chứa trên cao).
- 3.2. Trạm Bơm Nâng III và Vị Trí Bên Cạnh Ống Áp Lực:
- Trạm Nâng III: Là trạm bơm tăng áp nằm trên tuyến ống, dùng để tăng áp lực cho các khu vực xa hoặc cao hơn.
- Vị trí: Nhà máy của Trạm III ($3$) được bố trí bên cạnh ống áp lực ($4$) mà không đặt trực tiếp trên ống.
- Lợi ích kỹ thuật: “Điều này có lợi trong giai đoạn tháo nước nhỏ và tổn thất cột nước nhỏ khi ngắt và cấp nước chỉ một mình trạm nâng II.” (Tức là khi Trạm III không làm việc, Trạm II vẫn có thể bơm nước qua một đoạn ống ngắn vào tuyến ống mà không phải đi qua kết cấu phức tạp của Trạm III).
Việc lựa chọn sơ đồ bố trí cho Trạm Bơm Cấp Nước Nông Thôn lấy nước mặt phải cân nhắc kỹ lưỡng giữa tính ổn định, chi phí thi công và vận hành. Sơ đồ giếng chìm kết hợp ($d$) là giải pháp tối ưu về chi phí và không gian, nhưng sơ đồ tách biệt ($a$) linh hoạt hơn với mọi điều kiện địa chất. Trong hệ thống phức tạp (nhiều trạm nâng), việc kết hợp Trạm I và II trong cùng một nhà máy là một chiến lược kinh tế hiệu quả. Cuối cùng, việc thiết kế Trạm Nâng III bên cạnh ống áp lực là một giải pháp thông minh để tối thiểu hóa tổn thất thủy lực khi trạm này không cần vận hành.



